Operation CHARM: Car repair manuals for everyone.

A/T - 700R4 1984 Production Changes

SIL 86-20 (Sept)

Subject: 700 R4

PRODUCTION CHANGES:





Beginning with the 1984 production, the THM 700 R4 transmission is being produced with a TV exhaust checkball in the control valve body assembly (see Figure 2). The purpose of the TV exhaust checkball is to prevent low or minimum mainline pressure in the event the TV cable should break or become disconnected.





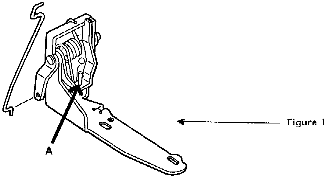
This TV exhaust checkball is normally held off its seat by a small pin on the throttle lever bracket assembly (see "A" in Figure 1).

If the TV cable should break or become disconnected, the TV exhaust checkball will seat, producing high mainline oil pressure, and causing harsh and delayed upshifts.


Not all throttle lever bracket assemblies have pin "A", as shown in Figure 1.

If a 1982-83 bracket assembly is used in conjunction with a TV exhaust checkball, the results will be harsh and delayed upshifts, just as if the TV cable was broken, or disconnected.