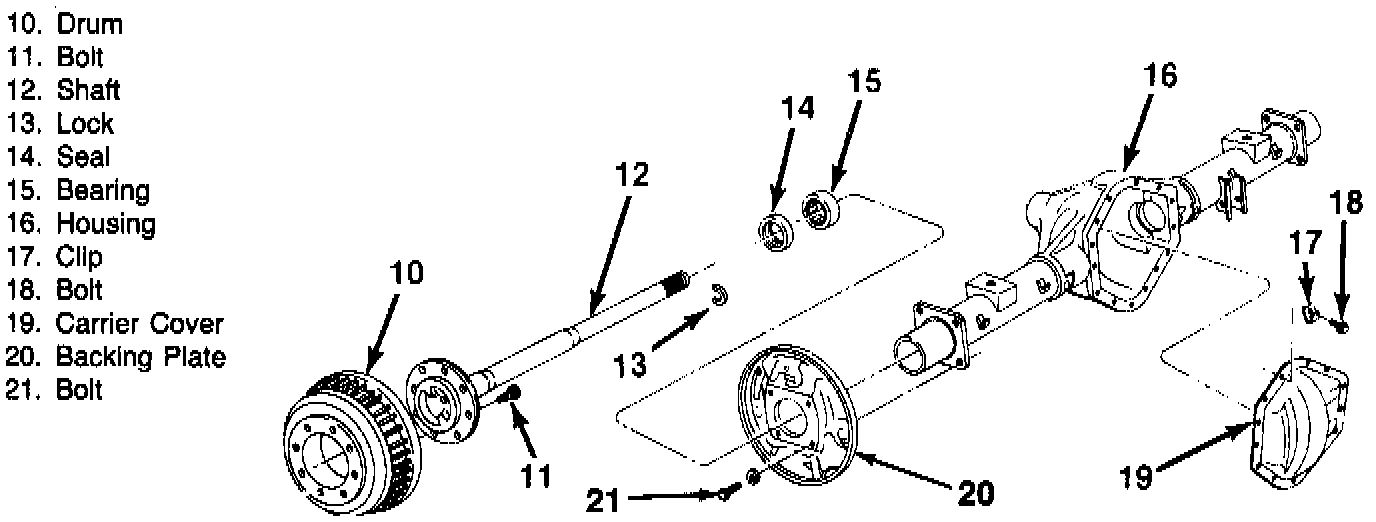
Identifying Axle Types
THERE ARE TWO DIFFERENT TYPES OF AXLES AVAILABLE ON GENERAL MOTORS TRUCKS.Axle Shaft Components:

Full Floating Axle
On full floating axles the drum is part of the hub assembly and they must be removed as an assembly.
Rear Drum Assembly:

Semi Floating Axle
On semi-floating axles the drum can be removed without removing the axle shaft.