Operation CHARM
: Car repair manuals for everyone.
Home
>>
Chevrolet
>>
1986
>>
K 10 P/U 4WD V8-379 6.2L DSL
>>
Repair and Diagnosis
>>
Transmission and Drivetrain
>>
Automatic Transmission/Transaxle
>>
Service and Repair
>>
Overhaul
>>
3L80/3L80HD (400/475) Automatic Transmission
>>
Disassemble
>>
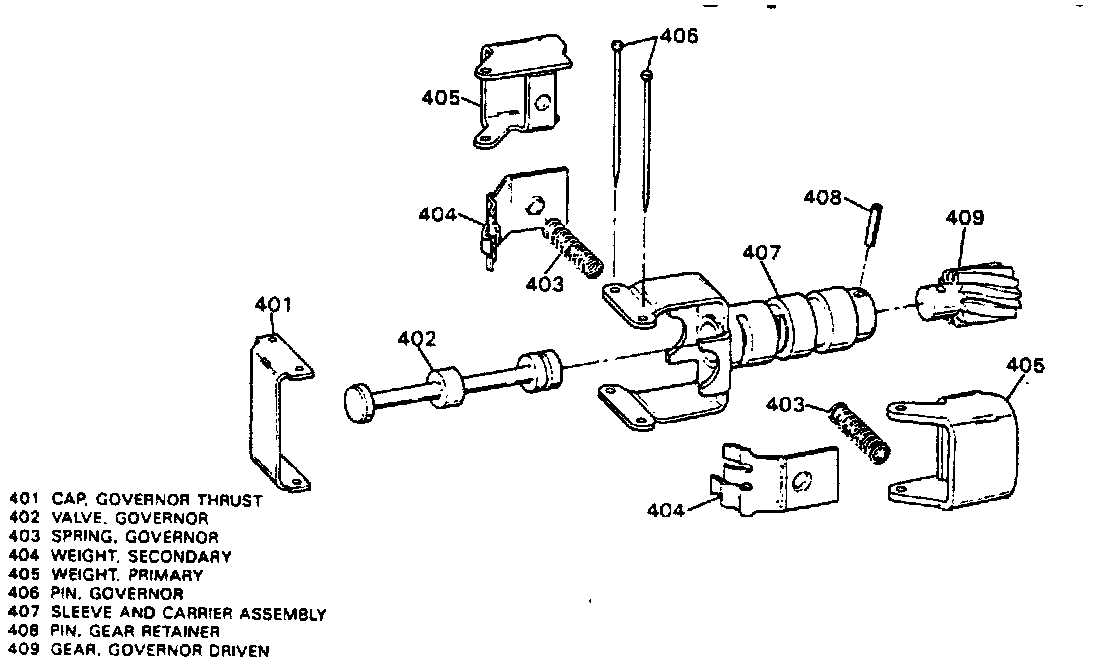
Governor Assembly
Governor Assembly
1. Remove
governor
cover attaching bolts, then the governor cover and gasket.
2. Remove
governor
assembly.
3. If equipped with internal transmission speed sensor, remove speed sensor retaining bolt, then the sensor and O-ring.