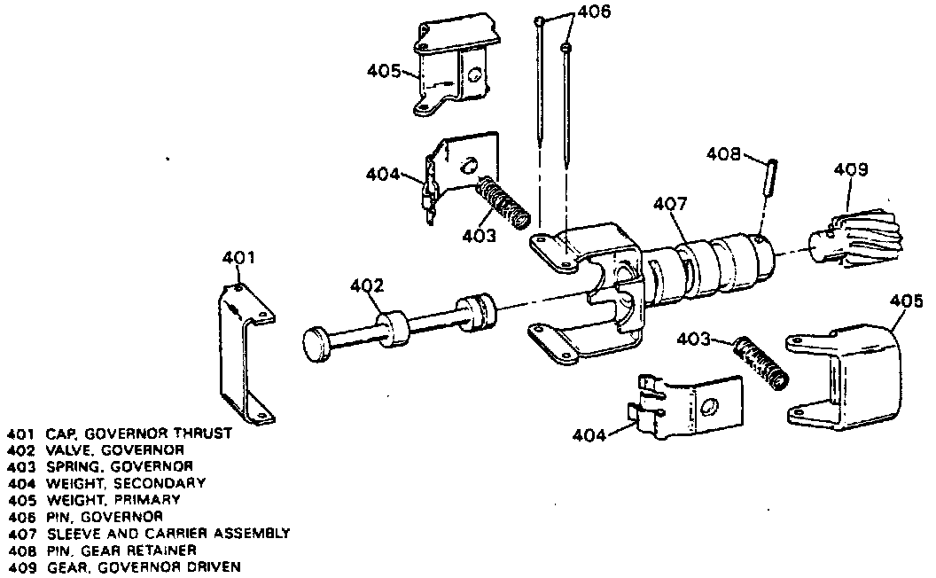
Governor Assembly

Important: Governor assembly is calibrated and is serviced as an assembly. However, driven gear may be serviced separately and unit may be disassembled for cleaning.
DISASSEMBLY
1. Using suitable pliers, remove governor pins (406).
2. Remove thrust cap, weights and springs.
3. Remove governor valve from sleeve.
4. Clean all parts in suitable solvent and air dry.
INSPECTION
1. Inspect sleeve for nicks, burrs or galling and free operation in case bore.
2. Inspect valve or darnage and free operation in bore of sleeve.
3. Inspect driven gear for damage.
4. Inspect springs for distortion or damage.
5. Check weights for free operations in retainers.
6. Measure valve opening at entry with weights. Minimum clearance should be 0.020 Inch.
7. Measure valve opening at exhaust with weights inward. Minimum clearance should be 0.020 inch.
REPLACING DRIVEN GEAR
1. Using small punch or 1/8 inch diameter rod, remove driven gear retaining pin.
2. Using long punch and mechanical press, remove driven gear from sleeve and carrier assembly.
ASSEMBLY
1. Clean chips and/or residue from sleeve and carrier assembly.
2. Install governor driven gear in sleeve and carrier assembly.
3. Dill new 1/8 inch hole in sleeve and carrier assembly and overnor driven gear, 90° from original hole.
4. Install pin in new 1/s inch hole.
5. Install valve in bore of sleeve.
6. Install weights and springs, and the thrust cap on sleeve.
7. Install new pins.
8. Inspect weight assemblies for free movement on pins.
9. Check valve for free movement in sleeve bore.